今天起,高考开始出分!一键直达成绩查询→
2025-06-23 14:45:57
来源:央视新闻
从今天起
各地2025高考成绩开始陆续公布
上海市将于今天(6月23日)14时
开放成绩查询系统
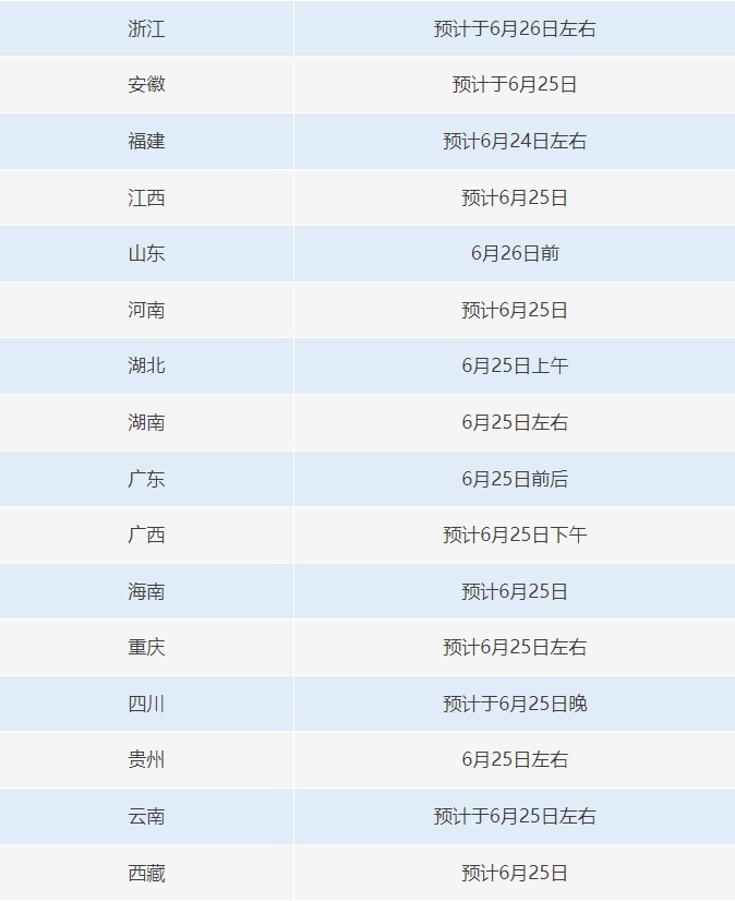
各地的具体出分时间如下



点击图片
一键直达高考成绩查询窗口↓

在高考成绩公布前
考生和家长可以提前开始做以下准备
结合考生的兴趣爱好、职业规划以及自身优势,初步确定目标院校和专业范围。
收集目标院校招生信息,包括高校的招生章程、专业设置,了解历年录取分数线、位次等数据,了解目标院校的招生政策和专业要求。
- 关注所在省份招生考试院发布的招生计划和政策解读,及时掌握最新的招生动态。
临近查分
不少不法分子
会利用考生和家长的急切心理
精心设计多种骗局
警方提示
这些陷阱易中招>>
广大考生和家长一定要注意防范!