
近日,昆明市晋宁区与印尼卡罗县签署推进建立友好城市合作关系备忘录。备忘录的签署,意味着昆明的“友城朋友圈”又添加一位新好友。
那么,你知道什么是“友好城市”?云南的“友城朋友圈”都有哪些成员?结对的“友城”都如何交流吗?且听我们为你一一介绍。
什么是友好城市
友好城市又被称为“姐妹城市”,指一国的城市(或省、州、郡县)与另一国相对应的城市(或省、州、郡县)签署友城协议书,缔结为友好城市。为了便于大家和“友好型城市”区别,本文中部分地方也将友好城市称为“国际友好城市”或“国际友城”。
结对的友好城市本着增进相互友谊、促进共同发展的目的,在双方城市积极开展政治、经济、科技、教育、文化、卫生、体育、环境保护和青少年交流等各个领域的交流的合作。
1973年,中国天津与日本神户建立了中国第一对国际友好城市。根据中国人民对外友好协会发布的数据:截至2024年6月,我国有31个省、自治区、直辖市及538个城市与五大洲146个国家的592个省(州、县、大区、道等)及1848个城市建立了3007对友好城市(省州)关系。
“友城”是咋走在一起的
这次,晋宁区交到了新朋友,昆明的“国际友城”再扩容。
除了晋宁区,昆明其他区(市)也有自己的外国朋友。比如安宁市的“国际友城”为老挝勐赛县,五华区结对友城是越南沙巴市,官渡区的友城是越南巴刹县,呈贡区的“国际友城”有些远,是巴西的艾乌纳波里斯。

那么,这些“友城”是如何牵手,走在一起的呢?
当然得有“媒人”牵线搭桥,还有经贸往来等形式,巩固双方的友谊。

就拿这次晋宁区和卡罗县的“牵手”来说,根据开屏新闻早前的报道,至少有两人起到“媒人的作用”。其一是,航海家郑和。大家都知道,晋宁是郑和的故乡。而600多年前,郑和七下西洋,曾6次到达苏门答腊岛,卡罗县正是位于苏门答腊岛。可以说,郑和的壮举为两地种下了友谊的种子。其二是,中国驻印尼棉兰总领馆张敏总领事,2024年3月,张敏总领事与卡罗县塞巴扬县长会见时,就晋宁区与卡罗县加强友好合作,推进建立友好城市关系进行了交流,促成了塞巴扬县长及代表团的晋宁之行。
昆明的“友城朋友圈”
晋宁区交到了自己的新朋友,昆明市也有自己的“国际友城”。
正如前文所述,“友城”的缔结也讲究“大朋友和大朋友玩,小朋友和小朋友玩”。昆明的友好城市也是区域级的城市。
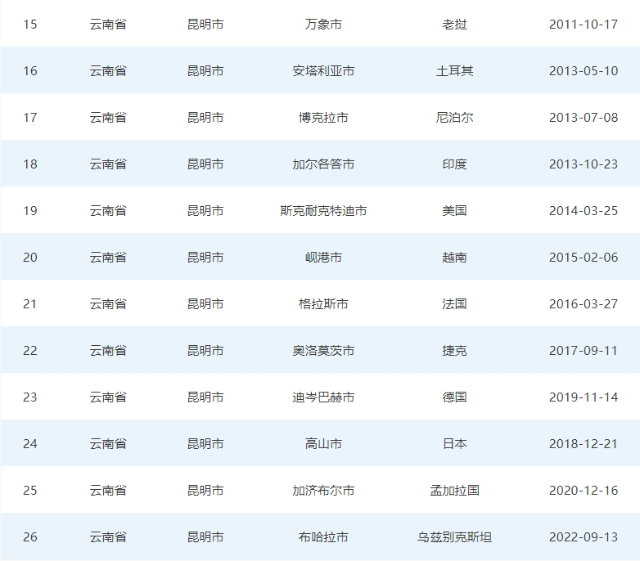
截至目前,与昆明市结对的友好城市有26个,来自22个国家,其中亚洲15个、欧洲5个、大洋洲2个、非洲1个。
昆明市友好城市名单


昆明市最先交到的“国际朋友”是日本的藤泽市,两座城市于1981年1月签署友城协议书。次年,昆明又交到第二个“外国朋友”——瑞士的苏黎世市。此后,美国丹佛市、缅甸仰光市、老挝万象市、法国格拉斯市等城市先后加入昆明的“朋友圈”。
“友城”都咋交流?
云南省也有自己的“友城”。
公开资料显示,和云南省缔结友好城市的有美国得克萨斯州、意大利洛迪省、印尼巴厘省、柬埔寨暹粒省等。

柬埔寨暹粒省,世界七大奇迹之一的吴哥窟便位其境内 图片据云南省人民政府外事办网站
那么,友好城市之间是如何进行交流呢?我们以云南省与暹粒省(柬埔寨)为例。
云南省与柬埔寨暹粒省于2006年4月正式缔结“友好省”关系。
2007年4月,云南省与暹粒省就在暹粒省共建“云南—暹粒友好农业科技示范园”达成共识。项目于2008年11月开工建设,总投资200万元,在柬方无偿提供的75亩土地上开展塑料大棚建设、设施农业展示、优质水稻、花卉、蔬菜等优良品种的试验示范、农业技术推广和人员培训等工作,在当地获得好评。2010年10月竣工验收后整体移交柬埔寨暹粒省农业厅。

云南省与国际友好城市柬埔寨暹粒省共建的云南-暹粒友好农业示范园 图片据云南省人民政府外事办网站
2010年11月,由云南文投集团投资的大型音乐舞蹈史诗剧《吴哥的微笑》在暹粒省吴哥成功首演。
2016年10月,云投集团携手云南建投集团、云南机场集团组成投资建设联合体,在金边与柬埔寨总理府签署《柬埔寨暹粒吴哥国际机场项目BOT(建设-运营-移交)协议》。根据协议,云投集团、云南建投、云南机场共同投资建设暹粒吴哥国际机场,年内,机场将建成完工。
2018年12月,云南省人民对外友好协会在柬埔寨暹粒省开展“促进友城友好交流—中柬高级旅游人才研讨班”项目。
2019年9月,云南省人民对外友好协会组派云南省医疗队在柬埔寨暹粒省中心医院眼科医院、班迭棉吉省柬日友好中心医院实施“光明行”项目,共完成白内障复明手术127例。
2021年10月,云南省人民对外友好协会和柬埔寨暹粒省农业厅在线上共同举办暹粒省农业技术培训项目。
2021年12月,云南省人民对外友好协会向暹粒省捐赠一批疫情防控物资,体现了中柬、滇柬守望相助、同舟共济的深厚情谊。
2022年10月,云南省在暹粒省开展“心联通 云南行”项目,帮助暹粒省东岱县江索村修建7口深水井解决饮用水供水困难,并援建节能路灯项目10个。
……
可见,友城之间的交流涉及方方面面。
云南的友城将越来越多
除了以上介绍的友好城市,云南不少州市都有着自己的“朋友圈”。
曲靖市

西双版纳州

普洱市

临沧市

丽江市

保山市

玉溪市

云南省地处中国西南地区,是中国面向南亚东南亚辐射中心,地处中国与东南亚、南亚三大区域的结合部,入选国家自由贸易试验区,是长江经济带重要组成部分,是全国热门旅游目的地和文旅大省。
国际友好城市是一个地区开展对外交流合作的重要平台,是实施“走出去”“请进来”发展战略的有效载体,也是地方政府对外开放度的重要体现,直接影响着本地区的国际化进程和对外开放水平。
相信随着对外交流的不断增多,相互了解不断增加,云南的“朋友圈”将越来越大。
(春城晚报-开屏新闻记者 易科彦 部分内容综合中国人民对外友好协会网站、云南省人民对外友好协会、昆明市人民政府外事办网站等)