昆明交警一周曝光台:456人被记满12分 超速酒驾者占一半
2018-11-18 17:39:16      来源:​掌上春城

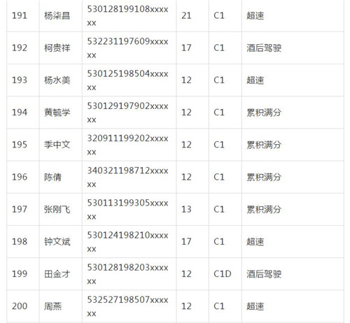
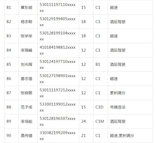
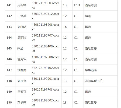
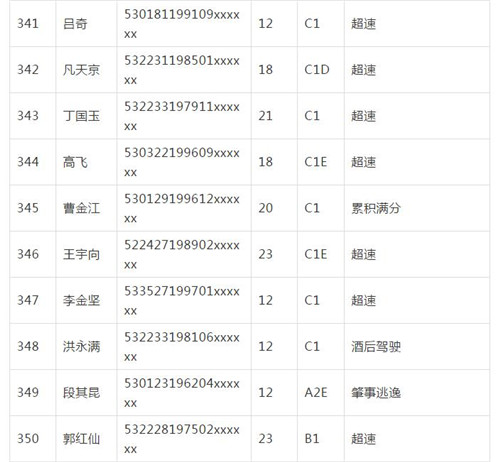
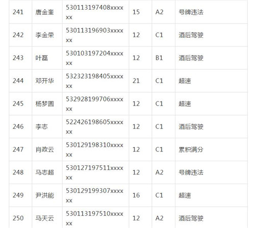
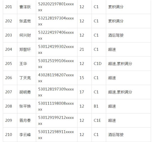
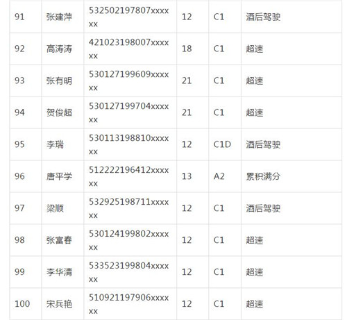
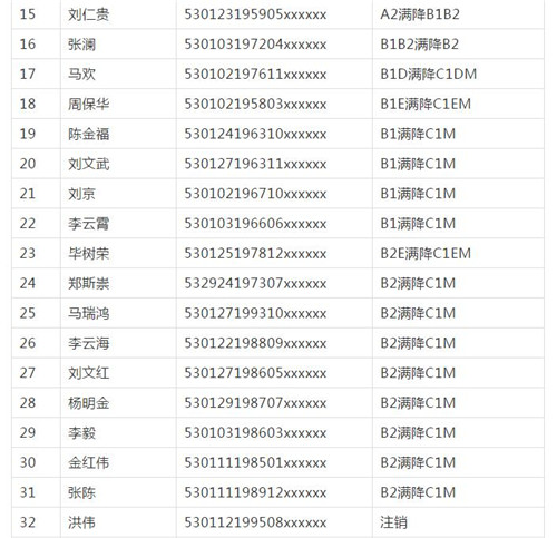
11月18日,记者从昆明交警了解到,本周共有456人被扣满分学习,其中超速酒驾者占一半,另有43人驾照被注销或降级,以下是具体名单:

1

2

3

4

5

6

7

8

9

10

11

12

13

14

15

16

17

18

19

20

21

22

23

24

25

26

27

28

29

30

31

32

33

34

35

36

37

38

39

40

41

42

43

44

45

46

47

48

(掌上春城 记者周婷)


编辑: 徐婷 责任编辑: 徐婷

广告热线:(0871)65364045  新闻热线:(0871)65390101

24小时网站违法和不良信息举报电话:0871-65390101  举报邮箱:2779967946@qq.com

涉未成年人举报电话:0871-65390101  举报邮箱:2779967946@qq.com

国新网许可证编号:53120170004

增值电信业务经营许可证(ICP):滇B2-20090009